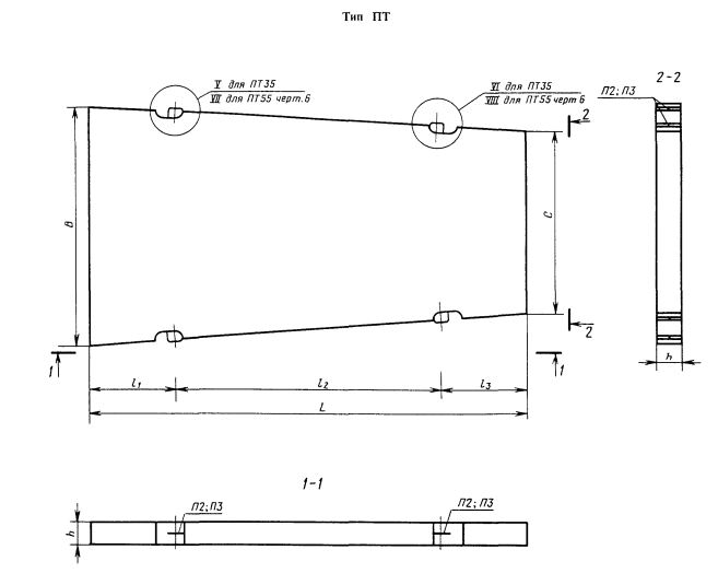
1ПТ 35

Чертеж изделия:
Характеристики изделия:
ПараметрЗначение
длина3500 мм
ширина2000/1500 мм
высота170 мм
масса2580 кг
нормативный документГОСТ 21924.0-84

1ПТ 35  Плита трапецеидальная для постоянных дорог. ГОСТ 21924.0-84.