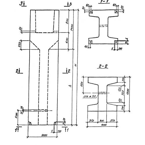
ВБ 10.12.57

Чертеж изделия:
Характеристики изделия:
ПараметрЗначение
длина1000 мм
ширина1000 мм
высота5690 мм
вес11380 кг
серия0-221-84

ВБ 10.12.57 Блок-стакан верхний по серии 0-221-84.