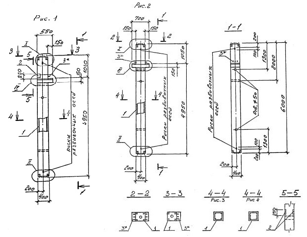
1КСД 60.00
Характеристики изделия:
| Параметр | Значение |
|---|---|
| длина | 6000 мм |
| ширина | 400 мм |
| высота | 700 мм |
| масса | 2450 кг |
| нормативный документ | Серия 1.020.1-4 |
Цена:
Рассчитать стоимость1КСД 60.00 Колонны двухконсольные для средних этажей (Серия 1.020.1-4).
Маркировка с учетом диаметра угловых стержней арматуры, в мм. и марки бетона:
1КСД 60.00-3.20.00
1КСД 60.00-3.22.00
1КСД 60.00-3.28.00
1КСД 60.00-3.32.00
1КСД 60.00-3.40.00
1КСД 60.00-4.40.00
1КСД 60.00-5.40.00
1КСД 60.00-5.40.22
1КСД 60.00-6.40.36