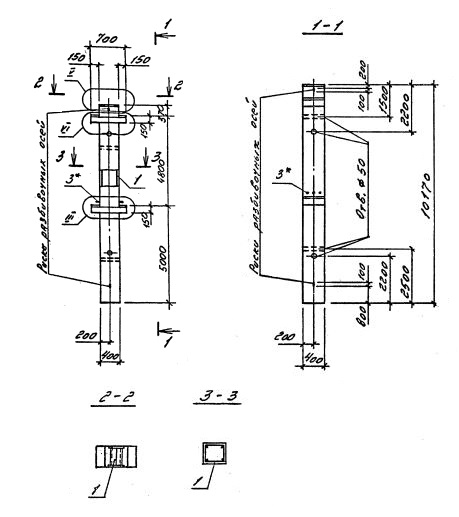
2КБД 48.48

Чертеж изделия:
Характеристики изделия:
ПараметрЗначение
длина10170 мм
ширина400 мм
высота700 мм
масса4150 кг
нормативный документСерия 1.020.1-4

2КБД 48.48     Колонны  бесстыковые двухконсольные (Серия 1.020.1-4).

Маркировка включает высоту этажей (дм), диаметры угловых и промежуточных стержней арматуры (мм), марку бетона:

2КБД 48.48-3.20.00

2КБД 48.48-3.22.00

2КБД 48.48-3.25.00

2КБД 48.48-4.32.00

2КБД 48.48-4.36.00