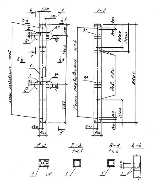
2КСО 48.48
Характеристики изделия:
| Параметр | Значение |
|---|---|
| длина | 9600 мм |
| ширина | 400 мм |
| высота | 550 мм |
| масса | 3880 кг |
| нормативный документ | Серия 1.020.1-4 |
Цена:
Рассчитать стоимость2КСО 48.48 Колонны одноконсольные для средних этажей (Серия 1.020.1-4).
Маркировка с учетом диаметра угловых стержней арматуры, в мм. и марки бетона:
2КСО 48.48-3.20.00
2КСО 48.48-3.22.00
2КСО 48.48-3.25.00
2КСО 48.48-3.28.00
2КСО 48.48-3.32.00
2КСО 48.48-4.32.00
2КСО 48.48-4.36.00
2КСО 48.48-4.40.00
2КСО 48.48-4.28.20
2КСО 48.48-4.32.20
2КСО 48.48-4.32.28