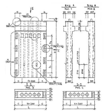
2ВД 12-36

Чертеж изделия:
Характеристики изделия:
ПараметрЗначение
длина1180 мм
ширина550 мм
высота3570 мм
масса2190 кг
нормативный документСерия 1.034.1-1

2ВД 12-36  Вентиляционные блоки-диафрагмы жесткости двухконсольные (Серия 1.034.1-1).