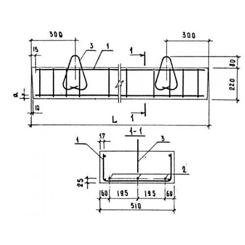
6ПП 21 перемычки плитные

Чертеж изделия:
Характеристики изделия:
ПараметрЗначение
длина2070 мм
ширина510 мм
высота220 мм
масса581 кг
нормативный документСерия 1.038.1-1

6ПП 21  Железобетонные перемычки плитного типа Серия 1.038.1-1.