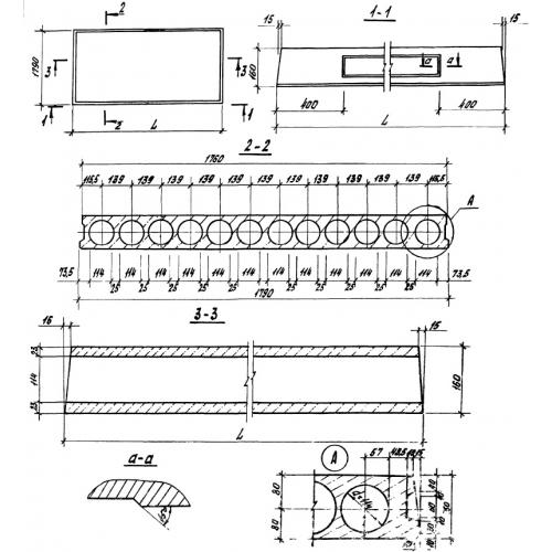
ПНО 51.18

Чертеж изделия:
Характеристики изделия:
ПараметрЗначение
длина5080 мм
ширина1790 мм
высота160 мм
вес2140 мм
серия1.141.1-39

ПНО 51.18 Плиты настила облегченные многопустотные по серии 1.141.1-39.