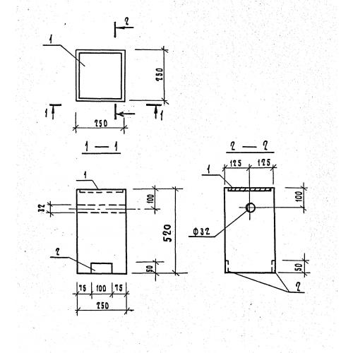
ТЛ 5-32

Чертеж изделия:
Характеристики изделия:
ПараметрЗначение
длина250 мм
ширина250 мм
высота520 мм
вес85 кг
серия1.189.1-8

ТЛ 5-32 Тумбы для шахты лифта по серии 1.189.1-8.