ПСД 30.6.20

Чертеж изделия:
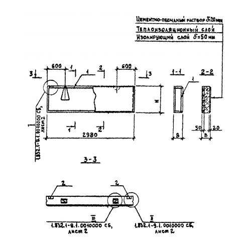
Характеристики изделия:
ПараметрЗначение
длина2980 мм
ширина200 мм
высота580 мм
вес580 кг
серия1.832.1-9

ПСД 30.6.20 Панели стеновые двухслойные по серии 1.832.1-9.