3КД 12

Чертеж изделия:
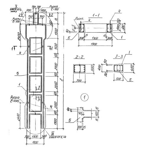
Характеристики изделия:
ПараметрЗначение
длина12950 мм
ширина500 мм
высота2200 мм
масса15180 кг
нормативный документСерия 3.013.9-1

3КД 12  Колонны двухветвевые Серия 3.013.9-1.