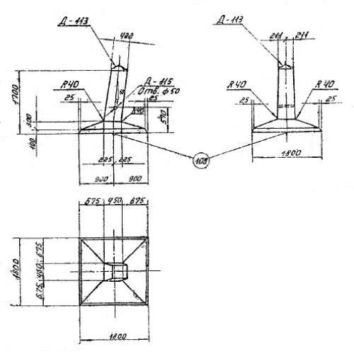
ФК 3 Фундаменты укороченные

Чертеж изделия:
Характеристики изделия:
ПараметрЗначение
длина1800 мм
ширина1800 мм
высота1700 мм
масса2500 кг
нормативный документСерия 3.407-115

ФК 3  Фундаменты укороченные Серия 3.407-115.