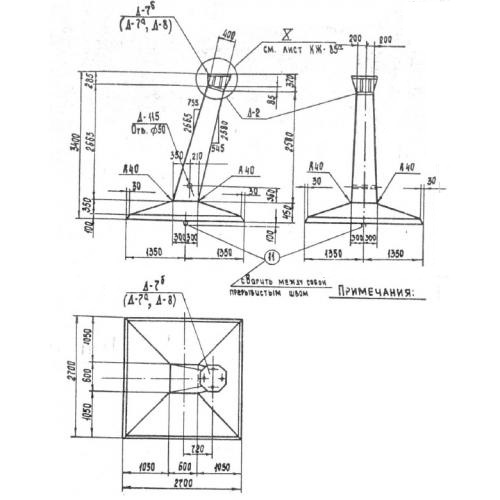
Ф 5 Фундаменты под анкерно-угловых опор

Чертеж изделия:
Характеристики изделия:
ПараметрЗначение
длина2700 мм
ширина2700 мм
высота3400 мм
масса6500 кг
нормативный документСерия 3.407-115

Ф 5 Фундаменты под анкерно-угловые опоры Серия 3.407-115.