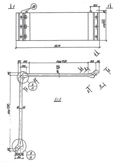
СУГН 1

Чертеж изделия:
Характеристики изделия:
ПараметрЗначение
Длина3210 мм
Ширина3210 мм
Высота1170 мм
Масса2000 кг
Нормативный документСерия 3.702-1

Предварительно напряженные изделия для стен силосов размером 3х3 по Серии 3.702-1.

СУГН 1 - угловые стеновые блоки.