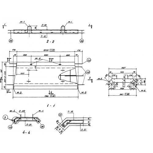
ЛУ 1-15

Чертеж изделия:
Характеристики изделия:
ПараметрЗначение
длина1340 мм
ширина400 мм
высота400 мм
вес150 кг
серия3.900-2

ЛУ 1-15 Лотки угловые по серии 3.900-2.