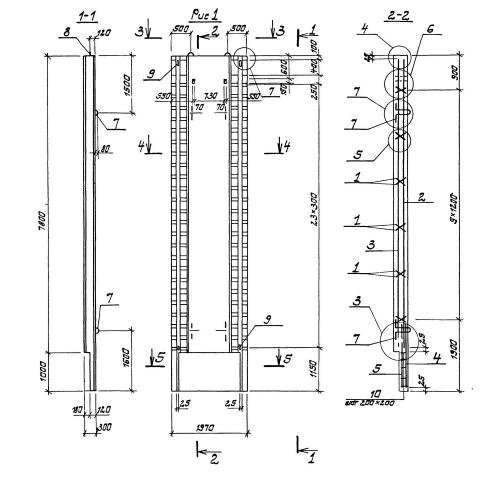
3ПС 78

Чертеж изделия:
Характеристики изделия:
ПараметрЗначение
длина1970 мм
ширина300 мм
высота8800 мм
вес10200 кг
серия3.902.1-12

3ПС 78 Стеновые панели для способа "стена в грунте" по серии 3.902.1-12.