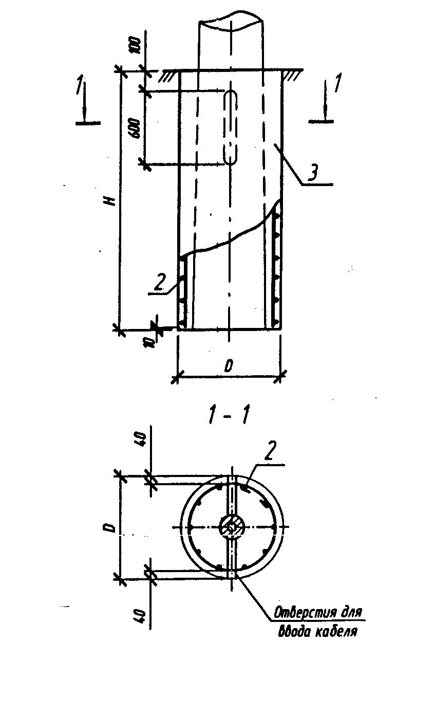
Ф 16
Характеристики изделия:
| Параметр | Значение |
|---|---|
| Высота Н | 2500 мм |
| Диаметр D | 1200 мм |
| Вес | 6050 кг |
| Серия | Б3.507.1-3.04 |
| Норма погрузки на машину (20тн) | 3 шт |
| Вагонная норма погрузки | - |
Цена:
Рассчитать стоимостьФундамент Ф 16 изготавливается из тяжелого бетона и предназначен для установки стоек СКЦ согласно нормам серии Б3.507.1-3.04.
